大塚製薬工場とエイワイファーマとの高カロリー輸液を巡る特許紛争・・・本件(知財高裁令和元年(行ケ)10155)は、大塚製薬工場が保有する「含硫化合物と微量金属元素を含む輸液製剤」に関する特許(第4171216号)のエイワイファーマによる無効審判請求(無効2018-800128号事件)を不成立とした審決の取消訴訟であり、争点は、特許法29条の2違反についての認定の誤りの有無である。
裁判所は、甲1には本件発明の基礎となる技術思想について何ら記載や示唆がなく、本件発明のようなひとまとまりの技術思想としての構成を認識すると認めることはできず、本件発明と甲1発明とには実質的な相違点があるから、本件発明が甲1輸液製剤発明と同一ではないとした審決は結論において相当であり、エイワイファーマの請求には理由がないとして棄却した。
本特許に関わる発明は、大塚製薬工場が製造販売する高カロリー輸液用 糖・電解質・アミノ酸・総合ビタミン・微量元素液「エルネオパ NF®1号輸液」および「エルネオパ NF®2号輸液」を保護する技術とのことであり、大塚製薬工場は、エイワイファーマが製造販売し陽進堂が販売する高カロリー輸液用 糖・電解質・アミノ酸・ビタミン・微量元素液「ワンパル®1号輸液」および「ワンパル®2号輸液」について、同特許の侵害を理由として、2018年9月19日付で東京地裁に差止訴訟を提起している(大塚製薬工場 press release: 2018.09.19 「エイワイファーマ株式会社および株式会社陽進堂に対し、特許侵害訴訟を提起」)。

以下、裁判所の判断の抜粋:
甲1発明は,「輸液と複数のビタミンとの混合操作が容易であり,複数のビタミンを製造時及び保存時に安定的に維持するとともに,生体に必須の薬剤以外の不要成分をできるだけ少なくすること」を課題とし,同課題解決のために,複数の区画室に複数のビタミンを少なくとも一部のビタミンと他のビタミンが隔離されるように収容するという構成を採用したものであり,甲1には,「一室に硫黄原子を含む化合物を含有する溶液が収容され,微量金属元素収容容器は他の室に収納することにより,微量金属元素を含む溶液が安定する」という本件発明の基礎となる技術思想について何ら記載や示唆がない。
・・・以上の検討を総合すると,(i)甲1には,「一室に硫黄原子を含む化合物を含有する溶液が収容され,微量金属元素収容容器は他の室に収納することにより,微量金属元素を含む溶液が安定する」という本件発明の基礎となる技術思想について何ら記載や示唆がなく,(ii)甲1では,アミノ酸輸液にシステイン,またはその塩,エステルもしくはN-アシル体を含むかどうかは任意であり,(iii)さらに,甲1においては,微量金属元素の収容場所について複数の選択肢があって,特定されていないのであるから,当業者は,甲1から,収容室23にシステイン,またはその塩,エステルもしくはN-アシル体を収容し,区画室28に微量金属元素を収容するという,ひとまとまりの技術思想としての構成を認識すると認めることはできない。
・・・前記・・・のとおり,当業者は,甲1から,収容室23にシステイン,またはその塩,エステルもしくはN-アシル体を収容し,区画室28に微量金属元素を収容するという構成を認識することができないところ,本件発明1の「アセチルシステイン」は,システインのN-アシル体であるから,相違点1-1及び相違点1-2は,実質的な相違点ということができる。
・・・以上からすると,その余の点について判断するまでもなく,本件発明1が甲1輸液製剤発明と同一ではないとした審決は結論において相当であり,原告が主張する取消事由1は理由がない。
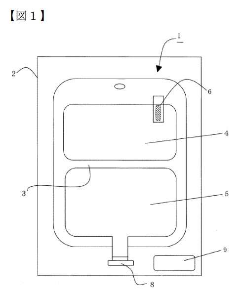
表1 本件発明1と甲1輸液製剤発明との対比
| 本件発明1 | 甲1輸液製剤発明 | 一致点・相違点 | 
| 外部からの押圧によって連通可能な隔壁手段で区画されている複数の室を有する輸液容器において,その一室に含硫アミノ酸および亜硫酸塩からなる群より選ばれる少なくとも1種を含有する溶液が充填され,他の室に鉄,マンガンおよび銅からなる群より選ばれる少なくとも1種の微量金属元素を含む液が収容された微量金属元素収容容器が収納されており,微量金属元素収容容器は熱可塑性樹脂フィルム製の袋であることを特徴とする輸液製剤であって,前記溶液は,アセチルシステインを含むアミノ酸輸液であり,
 
  | 
複室容器が,複数の収容室を有する容器本体と,複数の区画室を有して収容室に収納された収容容器とからなり,収容室にはアミノ酸又はアミノ酸及び電解質含有液が収容され,別の収容室には糖又は糖及び電解質含有液が収容され,別の収容室に収納された熱可塑性樹脂の袋からなる複数の区画室には,少なくとも2種以上のビタミンが,少なくとも一部のビタミンを他のビタミンと隔離するように,別々に収容され,他のビタミンの一部がさらに収容室に収容されていてもよく,上記複室容器の容器本体では,複数の収容室間が容器壁の内壁面同士を剥離可能に熱溶着した弱シールからなる仕切部により仕切られていて,上下両端を含む周囲が密封シール部により密封されており,鉄,銅,亜鉛,マンガン,ヨウ素などの微量元素が収容されている輸液製剤
 
  | 
(一致点)
 「外部からの押圧によって連通可能な隔壁手段で区画されている複数の室を有する輸液容器において,その一室にアミノ酸を含有する溶液が充填され,他の室に熱可塑性樹脂の袋からなる収容容器が収納されており,上記輸液容器には,鉄,マンガン及び銅を含む群より選ばれる少なくとも1種の微量金属元素を含む液が収容された輸液製剤」に関するものである点。  | 
| (相違点1-1)
 本件発明1においては,微量金属元素が,含硫アミノ酸および亜硫酸塩からなる群より選ばれる少なくとも1種を含有する溶液が充填されている室とは他の室に収納された微量金属元素収容容器に収容されており,微量金属元素収容容器はフィルム製であることが特定されているのに対して,甲1輸液製剤発明は,アミノ酸を含有する溶液が充填された収容室とは他の収容室に複数の区画室(収容容器)が収納されているものの,微量金属元素の収容場所は特定されておらず,複数の区画室(収容容器)がフィルム製であるかどうか不明である点。  | 
||
| (相違点1-2)
 複数の室に存在させる成分に関して,本件発明1は,その一室に含まれる溶液がアセチルシステインを含むアミノ酸輸液であり,他の室に鉄,マンガン及び銅からなる群より選ばれる少なくとも1種の微量金属元素を含む液が収容された微量金属元素収容容器が収納されているのに対して,甲1輸液製剤発明では,アミノ酸又はアミノ酸及び電解質含有液が一方の収容室に収容され,他の室に収納された複数の区画室(収容容器)には,少なくとも2種以上のビタミンが,少なくとも一部のビタミンを他のビタミンと隔離するように,別々に収容され,他のビタミンの一部がさらに収容室に収容されていてもよいことが特定されている点。  | 
||
| 前記輸液容器は,ガスバリヤー性外袋に収納されており,
 前記外袋内の酸素を取り除いた, 輸液製剤。  | 
(相違点1-3)
 本件発明1では,輸液製剤は,輸液容器が,ガスバリヤー性外袋に収納されており,上記外袋内の酸素を取り除いたものであるのに対して,甲1輸液製剤発明では,そのような特定のない点。  | 

  
  
  
  


コメント
【追記】
上告提起等の有無: 上告・上告受理申立て
上告審の結果:棄却(決定)(令和3年2月18日) 不受理(令和3年2月18日)